气(液)控抽汽止回阀
产品简介
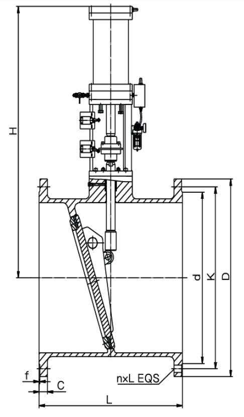
本阀是采用气压蓄能弹簧释能助关的金属硬密封止回阀,它适用于汽轮机抽汽管路系统。当汽轮机紧急关闭时,此阀门用来防止管路系统蒸汽和冷凝水倒流导致汽轮机损坏。
本阀具有如下特点:
1、蝶板采用大角度斜置,缩短启闭行程,并有气(液)或弹簧压助关,实现快速关闭。
2、大偏心金属密封结构,利用介质的推力助关,达到止回和截止的目的。
3、密封采用三维偏心结构,开关无摩擦,大大的增加了阀门的使用寿命。
销售热线:
产品详情
标准与规范Standards and specifications
|
制造标准Manufacturing standard |
GB/T 12235、GB/T 12236、GB/T 12238 |
|
|
结构⻓度Face - to - Face |
企标Enterprise standard |
|
|
配管法兰Piping flange |
GB/T 9112~9124 |
|
|
试验与检验Test and inspection |
JB/T 9092、GB/T 13927 |
|
|
公称通径DN |
150~1800mm |
|
|
公称压力PN |
1.0~6.4 Mpa、150~600Lb |
|
|
试验压力Ps |
密封Seal |
1.1xPN |
|
强度Intensity |
1.5xPN |
|
|
工作压力Working pressure |
<0.8xPN |
|
主要零部件材料Main parts material
|
阀体、阀盖Body, Bonnet |
WCB |
碳钢Carbon steel |
WC6 |
|
摇杆、阀瓣Rocker, disc |
WCB |
碳钢Carbon steel |
柔性石墨Flexible graphite |
|
填料Packing |
柔性石墨Flexible graphite |
柔性石墨Flexible graphite |
304 |
|
销轴、阀杆Pin, stem |
2Cr13 |
2Cr13 |
60Si2MnA |
|
弹簧Spring |
60Si2MnA |
60Si2MnA |
|
主要外形尺寸
Main external dimensions PN=1.0Mpa
|
DN |
L |
D |
K |
d |
C |
f |
n |
d1 |
H |
|
300 |
350 |
445 |
400 |
370 |
26 |
2 |
12 |
22 |
1350 |
|
350 |
400 |
505 |
460 |
429 |
26 |
2 |
16 |
22 |
1375 |
|
400 |
450 |
565 |
515 |
480 |
26 |
2 |
16 |
26 |
1400 |
|
450 |
500 |
615 |
565 |
530 |
28 |
2 |
20 |
26 |
1430 |
|
500 |
550 |
670 |
620 |
582 |
28 |
2 |
20 |
26 |
1460 |
|
600 |
600 |
780 |
725 |
682 |
34 |
2 |
20 |
30 |
1510 |
|
700 |
650 |
895 |
840 |
794 |
34 |
5 |
24 |
30 |
1570 |
|
800 |
700 |
1015 |
950 |
901 |
36 |
5 |
24 |
33 |
1620 |
|
900 |
750 |
1115 |
1050 |
1001 |
38 |
5 |
28 |
33 |
1710 |
|
1000 |
800 |
1230 |
1160 |
1112 |
38 |
5 |
28 |
36 |
1810 |
|
1100 |
850 |
1340 |
1270 |
1222 |
42 |
5 |
28 |
36 |
1860 |
|
1200 |
900 |
1455 |
1380 |
1328 |
44 |
5 |
32 |
39 |
2010 |
|
1250 |
950 |
1505 |
1430 |
1378 |
44 |
5 |
32 |
39 |
2022 |
|
1300 |
1000 |
1575 |
1490 |
1425 |
44 |
5 |
32 |
42 |
2122 |
|
1400 |
1050 |
1675 |
1590 |
1530 |
48 |
5 |
36 |
42 |
2322 |
|
1500 |
1100 |
1785 |
1700 |
1640 |
48 |
5 |
36 |
48 |
2378 |
|
1600 |
1200 |
1915 |
1820 |
1750 |
52 |
5 |
40 |
48 |
2435 |
主要外形尺寸
Main external dimensions PN=1.6Mpa
|
DN |
L |
D |
K |
d |
C |
f |
n |
d1 |
H |
|
300 |
350 |
460 |
410 |
370 |
28 |
2 |
12 |
26 |
1350 |
|
350 |
400 |
520 |
470 |
429 |
30 |
2 |
16 |
26 |
1375 |
|
400 |
450 |
580 |
525 |
480 |
32 |
2 |
16 |
30 |
1400 |
|
450 |
500 |
640 |
585 |
548 |
34 |
2 |
20 |
30 |
1430 |
|
500 |
550 |
715 |
650 |
609 |
38 |
2 |
20 |
33 |
1460 |
|
600 |
600 |
840 |
770 |
720 |
38 |
2 |
20 |
36 |
1510 |
|
100 |
650 |
910 |
840 |
794 |
40 |
5 |
24 |
36 |
1570 |
|
800 |
700 |
1025 |
950 |
901 |
42 |
5 |
24 |
39 |
1620 |
|
900 |
750 |
1125 |
1050 |
1001 |
44 |
5 |
28 |
39 |
1710 |
|
1000 |
800 |
1255 |
1170 |
1112 |
46 |
5 |
28 |
42 |
1810 |
|
1100 |
850 |
1370 |
1280 |
1222 |
46 |
5 |
28 |
42 |
1860 |
|
1200 |
900 |
1485 |
1390 |
1328 |
52 |
5 |
32 |
48 |
2010 |
|
1250 |
950 |
1535 |
1440 |
1378 |
52 |
5 |
32 |
48 |
2022 |
|
1300 |
1000 |
1585 |
1490 |
1425 |
54 |
5 |
32 |
48 |
2122 |
|
1400 |
1050 |
1685 |
1590 |
1530 |
58 |
5 |
36 |
48 |
2322 |
|
1500 |
1100 |
1820 |
1710 |
1640 |
60 |
5 |
36 |
48 |
2378 |
|
1600 |
1200 |
1930 |
1820 |
1750 |
64 |
5 |
40 |
55 |
2435 |
主要外形尺寸
Main external dimensions PN=2.5Mpa
|
DN |
L |
D |
K |
d |
C |
f |
n |
d1 |
H |
|
300 |
350 |
485 |
430 |
389 |
34 |
2 |
16 |
30 |
1350 |
|
350 |
400 |
555 |
490 |
448 |
38 |
2 |
16 |
33 |
1375 |
|
400 |
450 |
620 |
550 |
503 |
40 |
2 |
16 |
36 |
1400 |
|
450 |
500 |
670 |
600 |
548 |
46 |
2 |
20 |
36 |
1430 |
|
500 |
550 |
730 |
660 |
609 |
48 |
2 |
20 |
36 |
1460 |
|
600 |
600 |
845 |
770 |
720 |
50 |
2 |
20 |
39 |
1510 |
|
700 |
650 |
960 |
875 |
820 |
50 |
5 |
24 |
42 |
1570 |
|
800 |
700 |
1085 |
990 |
928 |
54 |
5 |
24 |
48 |
1620 |
|
900 |
750 |
1185 |
1090 |
1028 |
58 |
5 |
28 |
48 |
1710 |
|
1000 |
800 |
1320 |
1210 |
1140 |
58 |
5 |
28 |
55 |
1810 |
主要外形尺寸
Main external dimensions PN=4.0Mpa
|
DN |
L |
D |
K |
d |
C |
f |
n |
d1 |
H |
|
300 |
350 |
515 |
450 |
409 |
42 |
2 |
16 |
33 |
1350 |
|
350 |
400 |
580 |
510 |
465 |
46 |
2 |
16 |
36 |
1375 |
|
400 |
450 |
660 |
585 |
535 |
50 |
2 |
16 |
39 |
1400 |
|
450 |
500 |
685 |
610 |
560 |
55 |
2 |
20 |
39 |
1430 |
|
500 |
550 |
755 |
670 |
615 |
58 |
2 |
20 |
42 |
1460 |
|
600 |
600 |
890 |
795 |
735 |
62 |
2 |
20 |
48 |
1510 |
|
700 |
650 |
995 |
900 |
840 |
64 |
5 |
24 |
48 |
1570 |
|
800 |
700 |
1140 |
1030 |
960 |
70 |
5 |
24 |
56 |
1620 |
|
900 |
750 |
1250 |
1140 |
1070 |
74 |
5 |
28 |
56 |
1710 |
|
1000 |
800 |
1360 |
1250 |
1180 |
78 |
5 |
28 |
56 |
1810 |
